• Nuevo
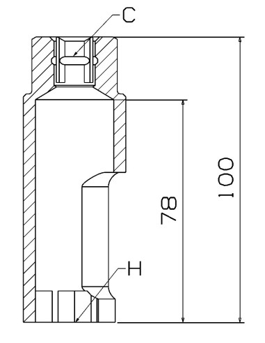
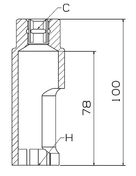
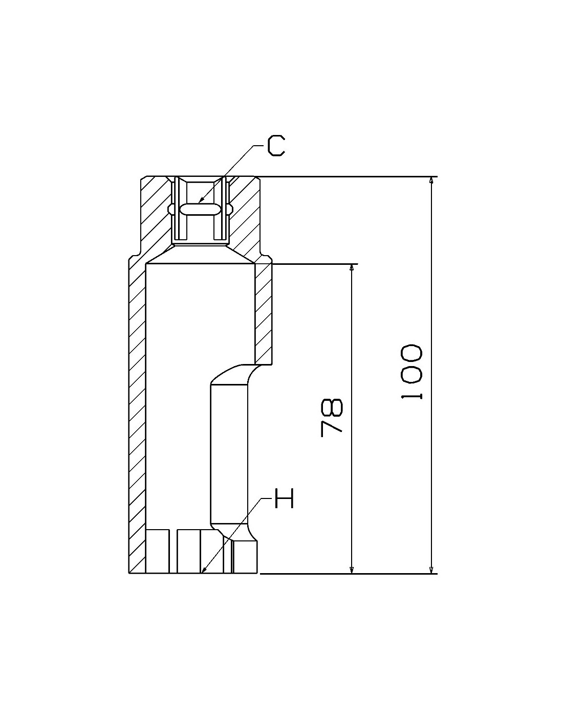
JUEGOS FORZA PARA INYECTORES
JUEGOS FORZA PARA INYECTORES

JUEGOS FORZA PARA INYECTORES

5158
788,92 €
Impuestos incluidos

group_work Consentimiento de cookies